Graph related to Casimir force

UCR physicist’s work featured in popular quantum course

Umar Mohideen’s image from Casimir effect experiment will appear in Spanish version of a show on quantum mechanics

April 23, 2025
Author: Iqbal Pittalwala
April 23, 2025

The Great Courses, a series of educational lectures available via monthly streaming subscription, will feature an image by UCR physicist Umar Mohideen in the Spanish-language version of its 2008 production “Quantum Mechanics: The Physics of the Microscopic World,” published by The Teaching Company.

Umar Mohideen
Umar Mohideen

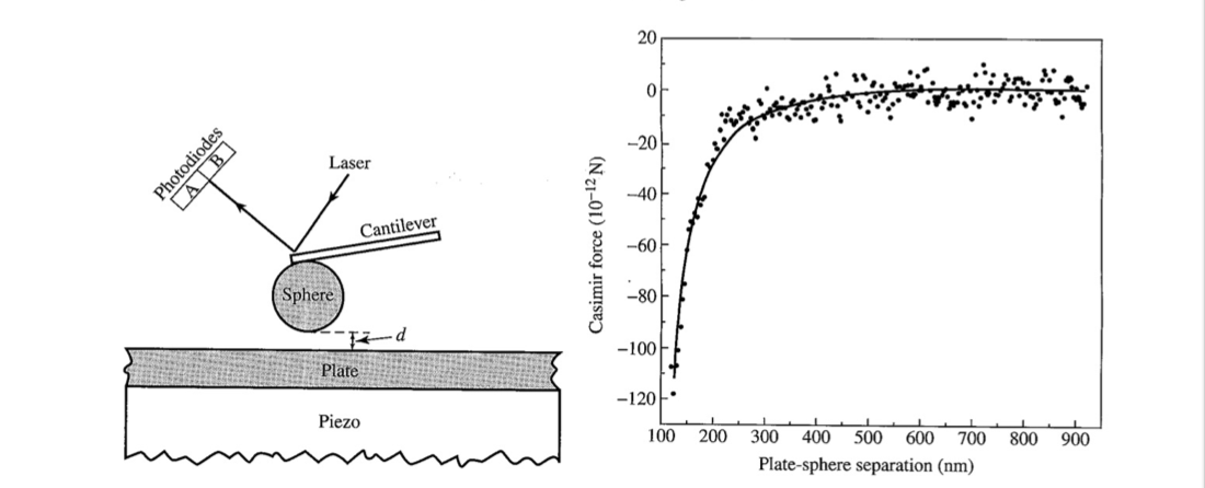
The featured image illustrates the Casimir force or effect, a phenomenon where two uncharged, parallel conducting plates experience a small attractive force when placed extremely close together. This effect arises from the quantum nature of empty space, which teems with transient virtual particles. In 1948, Dutch physicist Hendrik Casimir theorized that if the gap between the plates is small enough, the number of virtual particles between them is extremely reduced, resulting in greater pressure from the virtual particles in the surrounding space which pushes the plates together.

In the late 1990s, Mohideen experimentally confirmed this effect. Using an aluminum-coated sphere placed less than a thousandth of a millimeter from a plate, he and a colleague measured the Casimir force with great precision — within 1% of theoretical predictions. This groundbreaking work is now cited in leading graduate-level quantum mechanics textbooks.

“Through the Casimir force, our experiment verified the presence and role of virtual photons,” said Mohideen, a distinguished professor of physics and astronomy.

The Casimir effect has broad implications, deepening our understanding of the quantum nature of space and influencing fields such as condensed matter physics, quantum field theory, atomic and molecular physics, gravitation and cosmology, mathematical physics, and nanotechnology.